份额100%!麻花星空mv麻花星空mv高清完整配套中标中国铁塔集采项目

发布时间:2023-08-03

“交流配电箱中标份额达100%,配套中标4.7万台!”


近日,在中国铁塔2023年交流配电箱产品集中招标项目中,麻花星空mv麻花星空mv高清完整电气凭借研发创新能力、高质量的产品和专业化的服务,高份额成功配套中标中国铁塔大型年度集采项目,标志着麻花星空mv麻花星空mv高清完整电气通信行业解决方案获得了行业高度认可。作为网络能源低压电气专业品牌,麻花星空mv麻花星空mv高清完整提供的通信行业配电解决方案,助力中国铁塔通信配电建设。


本次配套中标,麻花星空mv麻花星空mv高清完整电气将为中国铁塔提供微型断路器、双电源等产品为核心的交流配电箱解决方案,能够满足绿色化、智能化、模块化和一体化的5G通信行业需求,确保中国铁塔通信核心机房项目的可靠运营。

 

交流配电箱组装现场

 

不论是繁华城市、还是大漠戈壁,麻花星空mv麻花星空mv高清完整电气携手中国铁塔,提供针对性的通信配电解决方案,为“神州十四返回舱着陆” “成都天府国际机场”等国家重大工程,以及西安、杭州地铁等民用通信覆盖项目提供高质量通信保障。


“神州十四“返回舱着陆通信覆盖


成都天府国际机场通信覆盖

各大地铁工程通信覆盖

 

自中国铁塔2014成立以来,麻花星空mv麻花星空mv高清完整配套基站交流配电箱已陆续应用,截至目前已配套运行于4G、5G通信基站、大型通信覆盖工程达到30多万座/场所。麻花星空mv麻花星空mv高清完整深入聚焦5G引领的“新基建”行业需求,提供安全可靠的产品和通信配电解决方案。


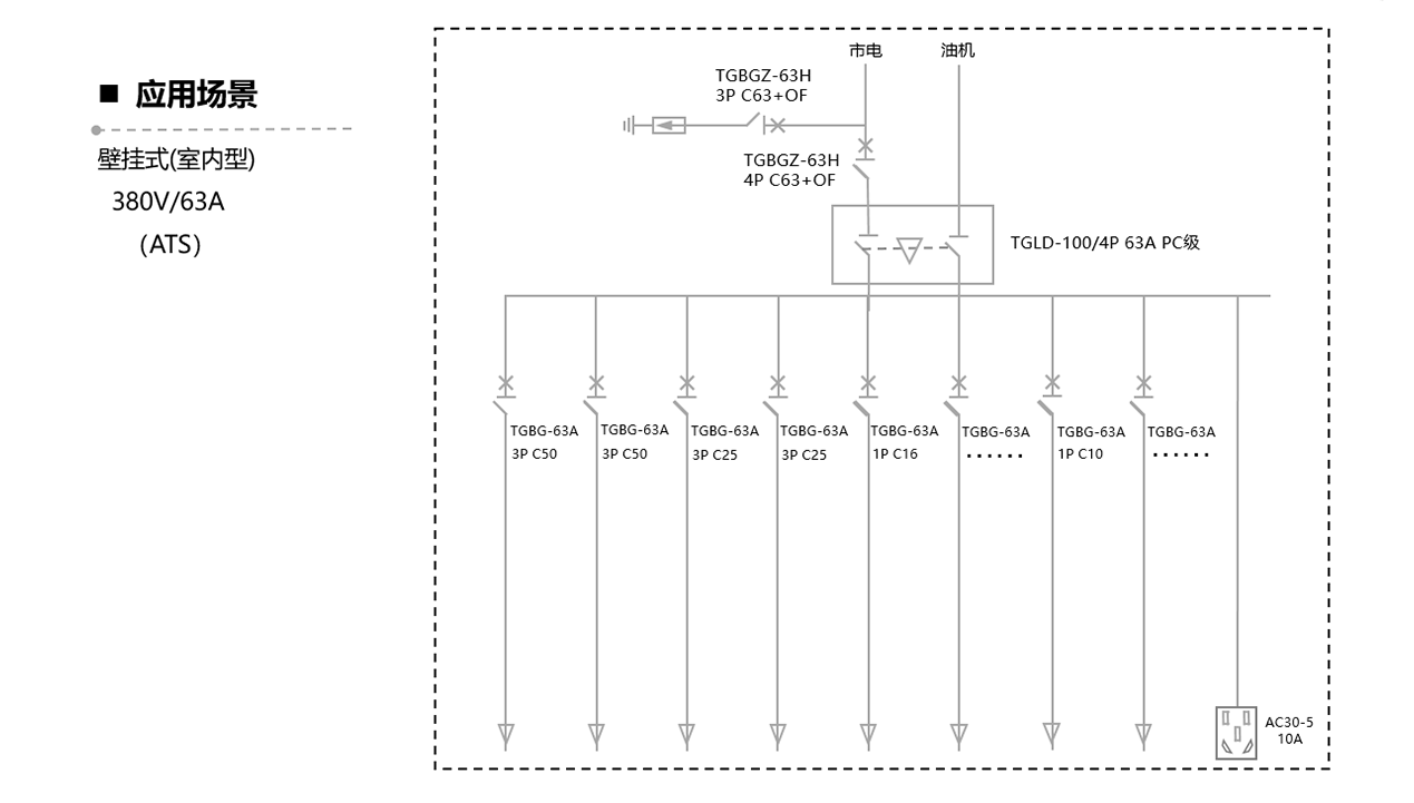
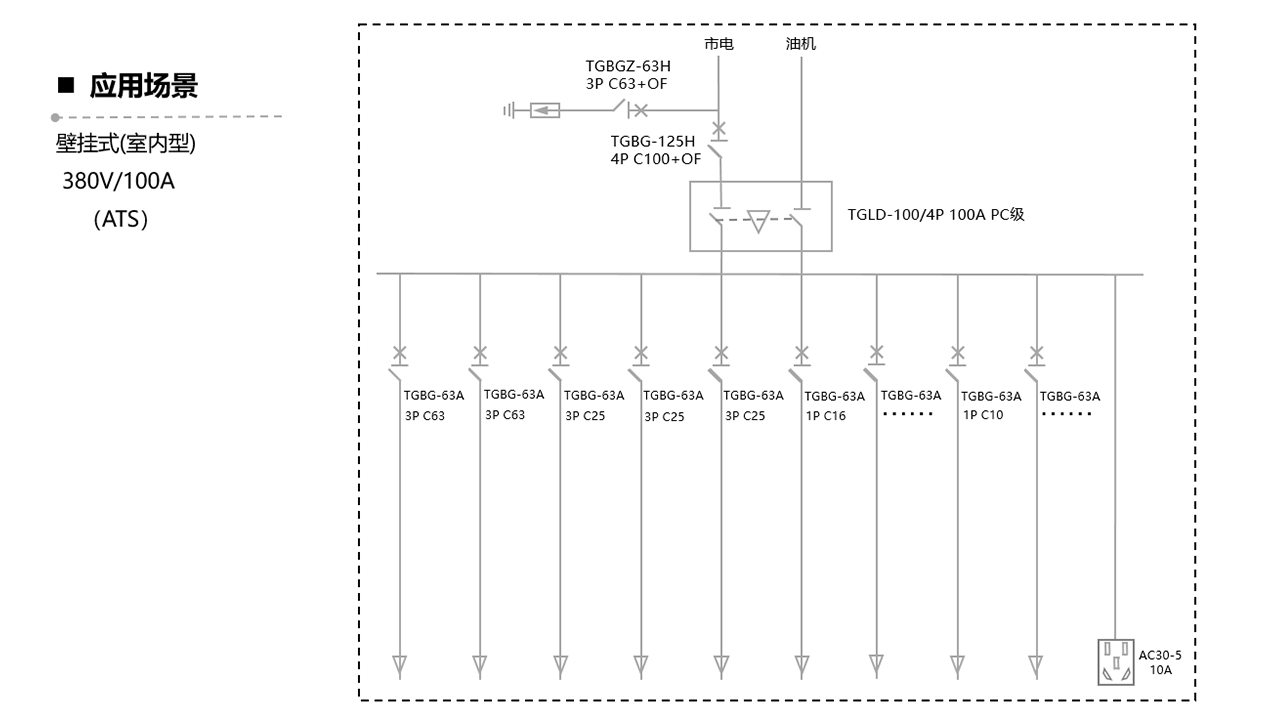
铁塔通信配电解决方案



除中国铁塔外,麻花星空mv麻花星空mv高清完整电气与中国移动、中国电信、中国联通等重量级客户也已达成深度合作,成为通信行业及数据中心的上游优质供应商之一。


未来,麻花星空mv麻花星空mv高清完整电气将继续加强在“新基建”赛道的创新与实践,研发更多客户需求的产品和解决方案,为客户创造更多价值。



Copyright ©2025 浙江麻花星空mv麻花星空mv高清完整电气股份有限公司 备案号 浙ICP备05055822号-4

x

联系麻花星空mv麻花星空mv高清完整

您可以向麻花星空mv麻花星空mv高清完整发送有关麻花星空mv麻花星空mv高清完整电气的问题咨询

I have read and accept the Privacy Policy


    麻花星空mv麻花星空mv高清完整